Kategori Berita
Daerah
Layanan
Top Up & Tagihan
Detik Network
detikInet
LG Patenkan Smartphone 3D Tanpa Kacamata

LG Patenkan Smartphone 3D Tanpa Kacamata


Rachmatunnisa - detikInet

Paten LG (Laptop Mag)
Jakarta -

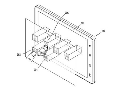
Gagasan smartphone 3D sempat booming beberapa waktu lalu, namun kini tampaknya mulai melempem. LG yang pernah membuat smartphone dengan layar 3D sepertinya masih pede dengan ide tersebut. Perusahaan asal Korea Selatan ini bahkan baru saja mematenkan ide smartphone 3D tanpa kacamata khusus.

Seperti dikutip detikINET dari Laptop Mag, Rabu (12/6/2013), berdasarkan deskripsi paten, LG berencana untuk mengintegrasikan haptic canggih ke display 3D di smartphonenya. Tak dijelaskan detail apa yang dimaksud dengan haptic canggih.

Namun LG dalam deskripsi patennya menggambarkan, haptic yang dibenamkan akan menghadirkan berbagai jenis umpan balik fisik, tak hanya vibrasi atau getaran seperti di gadget pada umumnya.

SCROLL TO CONTINUE WITH CONTENT

"Selain getaran, haptic bisa menghasilkan berbagai efek sentuhan, misalnya efek dengan simulasi seperti susunan pin vertikal bergerak saat kontak dengan kulit dan lain-lain," terang LG.

Jenis display 3D ini bukan satu-satunya layar sentuh yang akan ditemui pengguna di smartphone LG di masa yang akan datang. Pada gambar paten tampak pula bahwa LG menyiapkan perangkat yang menghadirkan display lain yang ditempatkan di bagian belakang smartphone.

Display ini bertindak sebagai media sekunder untuk mengontrol handset. Namun tidak dijelaskan bagaiman display atau touch pad belakang ini akan digabungkan dalam penggunaan sehari-hari. Namun sebagai gambaran, tampaknya ini akan mirip dengan ide yang pernah dipatenkan Motorola, yakni smartphone dengan touch control di bagian belakang.

(rns/ash)





Hide Ads
LIVE