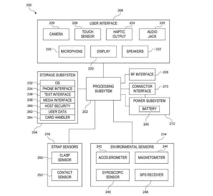
Kantor Paten dan Merk Dagang Amerika Serikat baru saja menyiarkan dua gambar paten dari Apple Watch yang diyakini merupakan model dari generasi berikutnya. Mengacu informasi paten tersebut, dikatakan bahwa jam tangan pintar Apple itu dilengkapi dengan kamera dan tombol tambahan.
Dalam dokumen paten tertulis kata-kata yang mengacu pada kamera digital compact yang dilengkapi dengan sensor seperti CMOS dan komponen optikal yang tersusun untuk fokus gambar itu, bersamaan dengan kendali yang dipakai untuk pengambilan gambar.
SCROLL TO CONTINUE WITH CONTENT
![]() |
Apple sendiri sampai saat ini belum memberikan keterangan resmi terkait Apple Watch generasi keduanya. Dan karena ini baru bersifat rumor, maka belum bisa dipastikan apakah benar akan diterapkan di Apple Watch 2. (mag/fyk)
