Kategori Berita
Daerah
Layanan
Top Up & Tagihan
Detik Network
detikInet
Samsung Patenkan Desain Tablet Berlubang

Samsung Patenkan Desain Tablet Berlubang


- detikInet

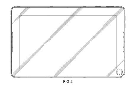
Desain yang dipatenkan Samsung (ist)
Jakarta - Samsung dilaporkan baru saja mengajukan paten desain sebuah tablet. Bentuknya unik, karena memiliki sebuah lubang besar yang belum diketahui fungsinya.

Paten tersebut kabarnya sudah disetujui oleh United States Patent and Trademark Office (USPTO). Seperti dikutip detikINET dari Phone Arena, Jumat (11/4/2014).

Sekilas, desain yang dipatenkan Samsung itu mirip dengan tablet pada umumnya, kecuali sebuah lubang yang terlihat besar pada bagian kanan produk tersebut.

SCROLL TO CONTINUE WITH CONTENT

Selain lubang misterius itu, dalam desain tersebut juga terlihat sebuah slot yang biasa digunakan Samsung untuk menempatkan stylus. Bisa jadi desain tersebut merupakan generasi baru Galaxy Note versi tablet.

(eno/tyo)






Hide Ads